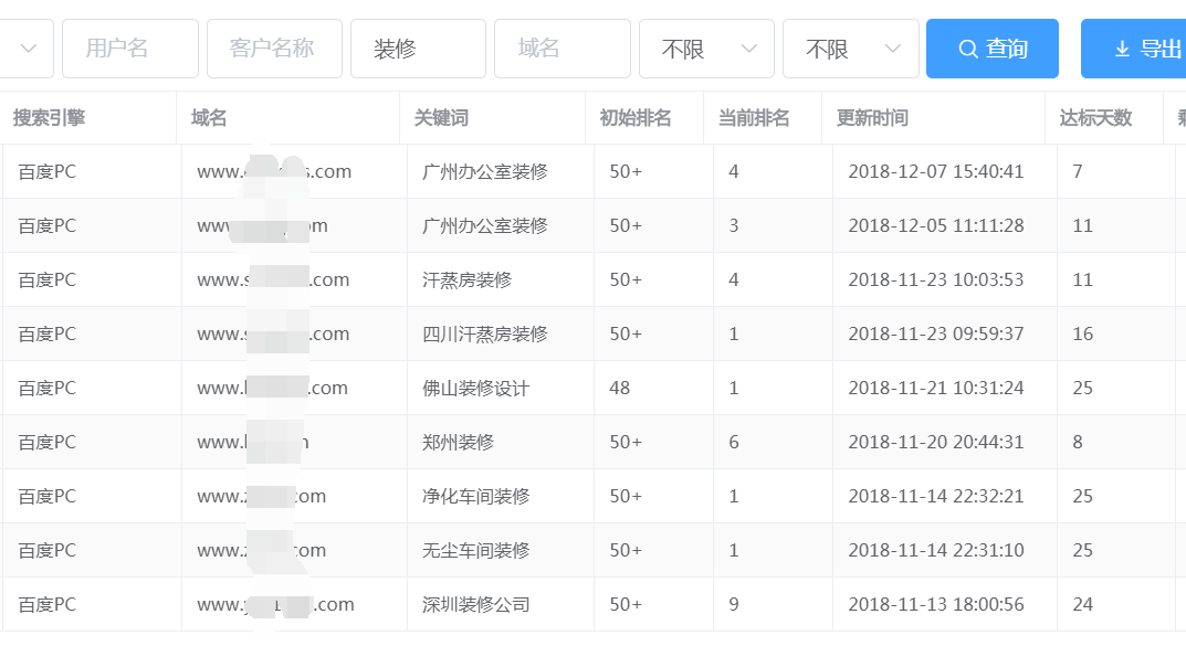
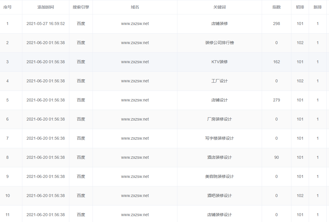
装修行业属于热门行业,互联网营销过程中,装修公司或装修门户平台做过竞价或者SEO优化的都应该了解,竞争非常激烈。据深圳一位在装修公司做网络主管的朋友说,他们做竞价不敢投放大词,烧不起,“深圳餐厅装修”这样的词,点击一次价格在70-80元,更热门的比如:装修公司,装修设计,装修,深圳装修公司,价格可想而知。我们在优化装修公司网站时,将装修公司,装修,装修设计,深圳装修公司,办公室装修,别墅装修,酒店装修,店铺装修,厂房装修,写字楼装修,办公室设计,酒店设计,别墅设计,店铺设计,厂房设计,写字楼设计等众多关键词均有优化到首页,效果稳定,企业的网站站长权重从1提升到4。


请联系我们专业的营销顾问,
我们将推荐适合您需求的产品或解决方案
添加微信